Apple patent points to the future of power management for mobile computing devices
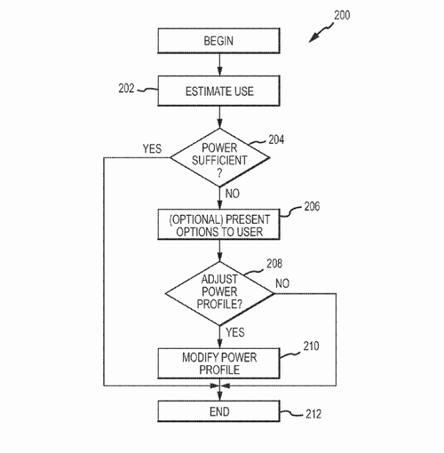
This Apple patent points to the future of power management for mobile computing devices. Devices will use context-specific information (like estimating how far you are from your destination using the GPS in your phone) to help decide when to reduce power use and extend battery life. Smart everything, getting smarter all the time!
Mac Rumors: Apple Applies for Patent on Intelligent ‘Power Management for Electronic Devices’
A newly published patent application from Apple describes a “power management for electronic devices” system, which detects the usage…

keywords:
